开发板介绍:
板载M0+内核、最大运行频率48MHz、拥有64KB Flash+8KB SRAM的MM32L0136C7P芯片
芯片性能简介:

开发板测评过程:
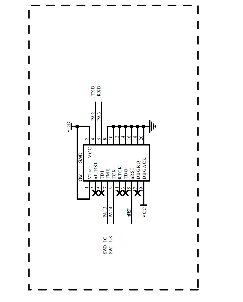
开发板原理图在用户指南手册里,对小白很不友好,不是单独的一份原理图。
了解了开发板的基本情况之后,下载测试用例工程代码。

在原理图可以知道,测试用例工程里用到的串口是usart2,对应的端口是PA2,PA3,打开电脑的串口调试工具,连接开发板运行,可以看到打印信息。

总的来说:这个芯片性能很好,评估板的原理图说明不友好,很费眼力和时间去查询相关,但是芯片性能总体不错,ADC和RTC精度和时差把控得很好。
详细在B站链接里。

